특징
- 다음 결과를 제공하는 것으로 AEC-Q100 인증받음:
- 장치 온도 등급 1: -40~+125°C 주변 작동 온도 범위
- 입력 전압: 2.8~5.5V
- 고효율 강압 DC/DC 컨버터 2개:
- 출력 전압: 1~3.36V
- 최대 출력 전류: 3A
- 프로그래밍 가능 출력 전압 슬루율: 0.5~10mV/µs
- 스위칭 주파수: 4MHz
- EMI 감소를 위한 확산 스펙트럼 모드 및 위상 인터리빙
- 구성 가능한 범용 출력 신호(GPO, GPO2)
- 표준(100kHz), 고속(400kHz), 고속+(1MHz) 및 고속(3.4MHz) 모드를 지원하는 I2C 호환 인터페이스
- 인터럽트 기능(프로그래밍 가능 마스킹)
- 프로그램 가능한 전력 양호 신호(PGOOD)
- 스위칭을 동기화하기 위한 외부 클록 입력
- 출력 단락 회로 및 과부하 보호
- 과열 경고 및 보호
- 과전압 보호(OVP) 및 부족 전압 록아웃(UVLO)
- 28핀, 5mm×5mm VQFN 패키지(습식 플랭크 포함)
애플리케이션
- 레이더 시스템 ECU
- 자동차 헤드 유닛 및 클러스터
- 자동차 카메라 모듈
- 서라운드 뷰 시스템 ECU
- 자동차 디스플레이
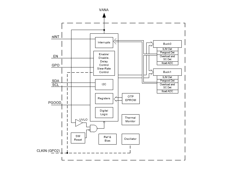
블록 선도
게시일: 2019-05-21
| 갱신일: 2025-03-06

