Texas Instruments TMS320VC5409A 고정점 디지털 신호 프로세서
Texas Instruments TMS320VC5409A 고정 소수점 DSP(디지털 신호 프로세서)는 하나의 프로그램 메모리 버스와 세 개의 데이터 메모리 버스를 갖춘 고급 수정 하버드 아키텍처를 기반으로 합니다. 이 프로세서는 고도의 병렬성을 갖춘 ALU(산술 논리 연산장치), 애플리케이션별 하드웨어 논리, 온칩 메모리, 추가 온칩 주변 장치를 제공합니다. Texas Instruments TMS320VC5409A의 작동 유연성과 속도의 기초는 고도로 전문화된 명령어 세트입니다.별도의 프로그램 및 데이터 공간을 통해 프로그램 명령과 데이터에 동시에 액세스할 수 있으므로 높은 수준의 병렬 처리를 제공합니다. 2가지 읽기 작업과 1가지 쓰기 작업을 단일 주기로 수행할 수 있습니다. 병렬 저장소 명령 및 애플리케이션별 명령은 이 아키텍처를 완벽하게 활용할 수 있습니다. 또한 데이터와 프로그램 공간 사이에 데이터를 전송할 수 있습니다. 이러한 병렬 처리는 단일 기계 사이클에서 모두 수행할 수 있는 강력한 산술, 논리 및 비트 조작 작업 세트를 지원합니다. 이 장치에는 인터럽트, 반복 작업 및 기능 호출을 관리하기 위한 제어 메커니즘도 포함되어 있습니다.
특징
- 3개의 개별 16비트 데이터 메모리 버스와 1개의 프로그램 메모리 버스를 갖춘 고급 멀티버스 아키텍처
- 40비트 배럴 시프터와 두 개의 독립 40비트 어큐뮬레이터를 포함한 40비트 ALU(산술 논리 연산장치)
- 파이프 라인되지 않은 단일 사이클 MAC(곱셈/누산) 연산을 위해 40비트 전용 가산기에 연결된 17 x 17비트 병렬 멀티플라이어
- Viterbi 연산자의 추가/비교를 위해 CSSU(비교, 선택 및 저장 장치)
- 단일 사이클에서 40비트 어큐뮬레이터 값의 지수 값을 계산하는 지수 인코더
- 2개의 어드레스 생성기(8개의 보조 레지스터와 2개의 ARAU(보조 레지스터 산술 장치) 포함)
- 데이터 버스(버스 홀더 기능 제공)
- 8M\xD7 16비트 최대 어드레스 지정 가능 외부 프로그램 공간을 위한 확장된 어드레스 지정 모드
- 다음으로 구성된 32K x 16비트 온칩 RAM
- 8K\xD7 16비트 온칩 듀얼 액세스 프로그램/데이터 RAM으로 구성된 블록 4개
- 프로그램 메모리용으로 구성된 16K\xD7 16비트 온칩 ROM
- 향상된 외부 병렬 인터페이스(XIO2)
- 프로그램 코드에 대한 단일 명령 반복 및 블록 반복 작동
- 더 나은 프로그램 및 데이터 관리를 위한 블록-메모리 이동 명령
- 32비트 긴 단어 피연산 함수를 이용한 명령
- 2개 또는 3개의 피연산 함수 읽기 기능을 이용한 명령
- 병렬 저장소 및 병렬 로드 장치를 이용한 산술 명령
- 조건부 저장 명령
- 인터럽트에서 빠른 반환
- 온칩 주변 장치
- 소프트웨어 프로그래밍 가능 대기 상태 발생 기및 프로그래밍 가능 뱅크 스위칭
- 내부 발진기 또는 외부 클록 소스가 있는 온칩 프로그래밍 가능 PLL(위상 고정 루프) 클록 발생기
- 16비트 타이머 1개
- 6채널 DMA(직접 메모리 액세스) 컨트롤러
- McBSP(다중 채널 버퍼형 직렬 포트) 3개
- 8/16비트 강화 병렬 호스트 포트 인터페이스(HPI8/16)
- 전력 차단 모드를 사용하여 IDLE1, IDLE2 및 IDLE3 명령을 사용한 소비전력 제어
- CLKOUT 비활성화를 위한 CLKOUT 오프 컨트롤
- 온칩 스캔 기반 에뮬레이션 로직, IEEE Std 1149.1(JTAG) 경계 스캔 로직
- 144 핀 BGA(볼 그리드 어레이) (GGU 접미사)
- 144 핀 LQFP(로우 프로파일 쿼드 플랫 팩) (PGE 접미사)
- 단일 주기 고정점 명령 실행 시간(160 MIPS): 6.25ns
- 단일 주기 고정점 명령 실행 시간(120 MIPS): 8.33ns
- 공급 전압(160 및 120 MIPS): 3.3V I/O
- 코어 공급 전압(160 MIPS): 1.6V
- 코어 공급 전압(120MIPS): 1.5V
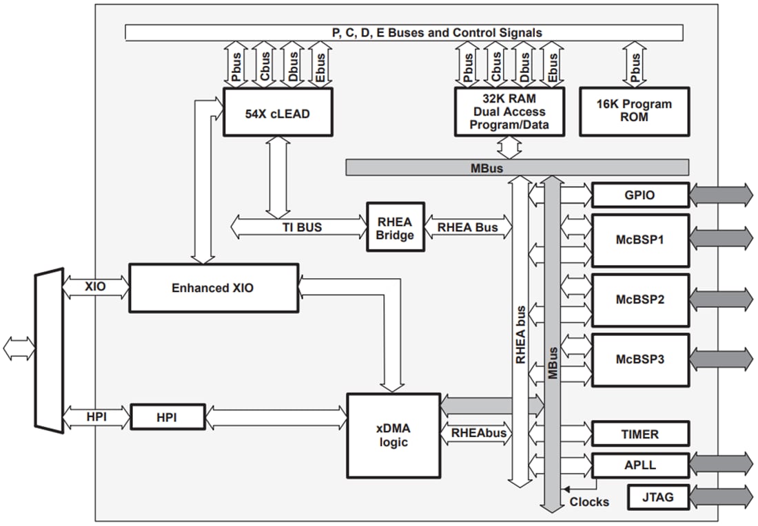
기능 블록 선도
게시일: 2020-08-12
| 갱신일: 2024-08-02
