Texas Instruments PCI2050B PCI-PCI 브리지
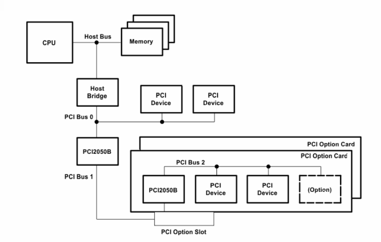
Texas Instruments PCI-PCI 브리지는 최대 66MHz의 버스 주파수에서 작동하는 2개의 PCI(주변 장치 구성 요소 상호 연결) 버스 사이의 고성능 연결 경로가 특징입니다. 트랜잭션은 하나의 마스터와 다른 PCI 버스의 대상 사이에 발생합니다. CI2050B 브리지를 사용하면 두 버스 모두에서 브리지 트랜잭션이 동시에 발생할 수 있습니다. PCI-PCI 브리지는 데이터 처리량을 극대화하기 위해 버스트 모드 전송을 지원하고 브리지를 통해 독립적으로 작동하는 2개의 버스 트래픽 경로를 제공합니다.TI PCI2050B 브리지는 PCI 로컬 버스 사양을 준수하며 PCI 버스당 10개의 장치와 확장 슬롯당 1개의 PCI 장치의 전기적 부하 한계를 극복하는데 사용됩니다. PCI2050B는 최대 9개의 2차 버스 마스터에 2 계층 내부 중재 기능을 제공하며 외부 버스 장치로 구현할 수 있습니다.
CompactPCI™ 핫스왑 확장 PCI 기능 덕분에 PCI2050B 브리지는 다기능 콤팩트 PCI 카드에 이상적인 솔루션이 되고 핫스왑 규정 준수를 위해 단일 기능 카드를 채택할 수 있습니다.
특징
- 32비트 66MHz PCI 버스 2개
- 3.3V 및 5V PCI 신호 처리 환경과 호환되는 범용 PCI 인터페이스를 갖춘 3.3V 코어 로직
- 최대 9개의 보조 버스 마스터를 위한 내부 2 계층 중재 및 외부 보조 버스 장치 지원
- 보조 PCI 클록 출력 10개
- 각 방향에 대한 독립적인 읽기 및 쓰기 버퍼
- 양방향으로 데이터 처리량을 극대화하기 위한 파이프라인 아키텍처로 버스트 데이터 전송
- 향상된 데이터 처리량을 위한 쓰기 조합 지원
- 하나의 버스에서 다른 버스까지 4개의 PCI 클록에 불과한 프레임-프레임 지연 지원
- 양방향으로 지연된 최대 3개의 트랜잭션
- 버스 잠금 전파
- PCI 로컬 버스 사양에 따른 예측 가능한 대기 시간
- PCI 버스 전력 관리 인터페이스 사양을 위해 구성 가능한 아키텍처
- CompactPCI 핫스왑 기능
- 리셋 중 2차 버스가 로우로 구동
- VGA/팔레트 메모리 및 I/O 디코딩 옵션
- 고급 서브마이크론, 저전력 CMOS 기술
- 208단자 PDV, 208단자 PPM 또는 257단자 MicroStar BGA™ 패키지
블록 선도
게시일: 2021-02-03
| 갱신일: 2022-03-11
