Texas Instruments MSP430F552x/MSP430F551x 혼합 신호 MCU
Texas Instruments의 MSP430F552x/MSP430F551x 혼합 신호 MCU(마이크로컨트롤러)는 USB 2.0과 4개의 16비트 타이머를 지원하는 통합 USB 및 PHY로 구성된 초저전력 MCU입니다. 이 장치에는 고성능 12비트 ADC(아날로그-디지털 컨버터), USCI 2개, 하드웨어 증배기, DMA, 알람 기능이 있는 RTC 모듈이 포함되어 있습니다. MSP430F5528, MSP430F5526, MSP430F5524, MSP430F5522 마이크로컨트롤러에는 이러한 모든 주변장치가 포함되어 있지만 I/O 핀은 47개입니다. Texas Instruments MSP430F552x/MSP430F551x는 강력한 16비트 RISC CPU, 16비트 레지스터, 상수 생성기를 갖추고 있어 최대 코드 효율성을 제공합니다. DCO(디지털 제어 발진기)를 사용하면 장치가 3.5µs(일반) 내에 저전력 모드에서 활성 모드로 전환될 수 있습니다.특징
- 3.6~1.8V의 낮은 공급 전압 범위
- 초저 소비전력
- AM(활성 모드)
- 모든 시스템 시계가 활성 상태입니다.
- 8MHz, 3.0V에서 290µA/MHz, 플래시 프로그램 실행(일반)
- 8MHz에서 150μA/MHz, 3.0V, RAM 프로그램 실행(표준)
- 모든 시스템 시계가 활성 상태입니다.
- 대기 모드(LPM3)
- 크리스털, 와치독 및 공급 감시 장치 작동, 전체 RAM 유지, 빠른 웨이크업 기능을 갖춘 실시간 클록(RTC)
- 2.2V에서 1.9µA, 3.0V에서 2.1µA(표준)
- VLO(저전력 발진기), 범용 카운터, 와치독 및 공급 감시 장치 작동, 전체 RAM 유지, 고속 웨이크업
- 3.0V에서 1.4µA(표준)
- 크리스털, 와치독 및 공급 감시 장치 작동, 전체 RAM 유지, 빠른 웨이크업 기능을 갖춘 실시간 클록(RTC)
- 오프 모드(LPM4)
- 전체 RAM 유지, 공급 감시 장치 작동, 고속 웨이크업
- 3.0V에서 1.1µA(표준)
- 전체 RAM 유지, 공급 감시 장치 작동, 고속 웨이크업
- 셧다운 모드(LPM4.5)
- 3.0V에서 1.18µA(표준)
- AM(활성 모드)
- 3.5µs(표준)의 대기 모드에서 웨이크업
- 16비트 RISC 아키텍처, 확장 메모리, 최대 25MHz 시스템 클록
- 유연한 전력 관리 시스템
- 프로그래밍 가능 조정된 코어 공급 전압으로 완전 통합된 LDO
- 공급 전압 감시, 모니터링 및 브라운아웃
- 통합 클록 시스템
- 주파수 안정화를 위한 FLL 제어 루프
- 저전력, 저주파 내부 클록 소스(VLO)
- 저주파 트리밍 내부 기준 소스(REFO)
- 32kHz 시계 크리스털(XT1)
- 최대 32MHz의 고주파 크리스털(XT2)
- 16비트 타이머 TA0, Timer_A(5개의 캡처/비교 레지스터 포함)
- 16비트 타이머 TA1, Timer_A(3개의 캡처/비교 레지스터 포함)
- 16비트 타이머 TA2, Timer_A(3개의 캡처/비교 레지스터 포함)
- 16비트 타이머 TB0, Timer_B(7개의 캡처/비교 섀도우 레지스터 포함)
- 2개의 USCI(범용 직렬 통신 인터페이스)
- USCI_A0 및 USCI_A1은 각각 다음을 지원합니다.
- 자동 보드 전송 속도 감지 기능을 지원하는 향상된 UART
- IrDA 인코더 및 디코더
- 동기식 SPI
- USCI_B0 및 USCI_B1은 각각 다음을 지원합니다.
- I2C
- 동기식 SPI
- USCI_A0 및 USCI_A1은 각각 다음을 지원합니다.
- 전속 USB(범용 직렬 버스)
- 통합형 USB-PHY
- 통합형 3.3V 및 1.8V USB 전원 시스템
- 통합형 USB-PLL
- 입력 및 출력 엔드 포인트 각각 8개
- 내부 기준, 샘플 앤 홀드 및 자동 스캔 기능을 갖춘 12비트 ADC(아날로그 디지털 변환기) (MSP430F552x만 해당)
- 비교기
- 하드웨어 체배기가 32비트 작동 지원
- 직렬 보드 내장 프로그래밍, 외부 프로그래밍 전압 불필요
- 3채널 내부 DMA
- RTC 기능을 제공하는 기본 타이머
애플리케이션
- 아날로그 및 디지털 센서 시스템
- 데이터 로거
- USB 호스트에 연결
MSP430F551x PN 패키지 블록 선도
MSP430F551x ZXH ZQE RGC 패키지 블록 선도
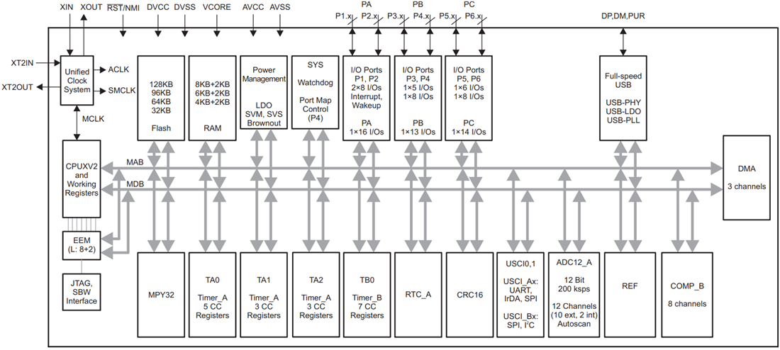
MSP430F552x PN 패키지 블록 선도
MSP430F552x ZXH ZQE RGC 패키지 블록 선도
게시일: 2020-09-29
| 갱신일: 2025-04-16
