Texas Instruments AFE58JD28 16채널 초음파 아날로그 프런트 엔드
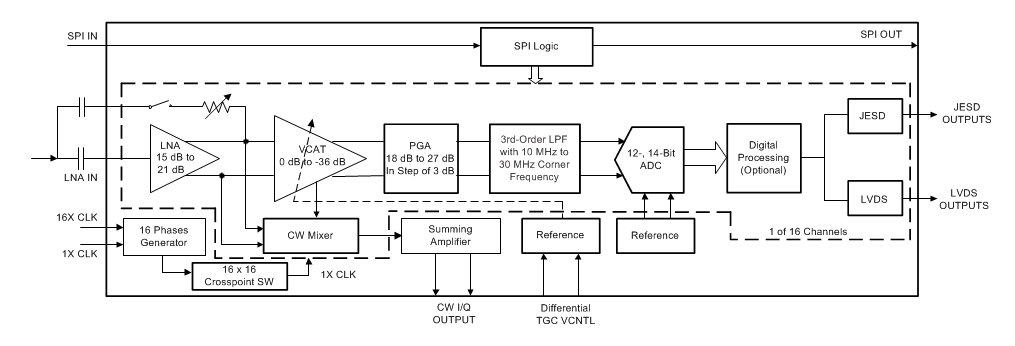
Texas Instruments AFE58JD28 16채널 초음파 AFE는 Fuzzy Match 80%고성능, 저전 력 및 소형 크기가 필요한 초음파 시스템을 위해 설계되었습니다. 이 장치는 2개의 다이, 전압 제어 증폭기(VCA) 다이 및 아날로그-디지털 컨버터(ADC) 다이가 있는 멀티 칩 모듈(MCM)을 사용합니다. VCA 다이는 ADC 다이의 16개 채널과 인터페이스하는 채널이 16개 있습니다. VCA 다이의 각 채널은 TGC(Time Gain Compensation) 모드 또는 CW(Continuous Wave) 모드 중 하나로 구성할 수 있습니다. ADC 다이의 16개 채널은 14비트 또는 12비트의 분해능으로 작동하도록 구성할 수 있습니다. 이 분해능은 변환 속도로 상쇄될 수 있으며 14비트 및 12비트 분해능에서 최대 65MSPS 및 80MSPS 속도로 작동합니다. AFE58JD28은 다양한 전력 및 잡음 조합을 선택할 수 있어 배터리 수명이 엄격한 시스템을 위한 초음파 AFE 솔루션에 적합합니다.특징
- 5Gbps JESD 인터페이스:
- JESD204B 서브클래스 0, 1, 2
- JESD 레인당 2, 4 또는 8개 채널
- 초음파 애플리케이션을 위한 16채널 AFE:
- TGC 및 CW 모드에 최적화된 신호 체인
- 4개의 프로그래밍 가능 TGC 프로파일
- 다음을 제공하는 저잡음 증폭기(LNA):
- 프로그래밍 가능 이득: 21dB, 18dB 및 15dB
- 선형 입력 신호 진폭:
- 0.37VPP, 0.5VPP 및 0.71VPP
- 액티브 종단
- VCAT(전압 제어 감쇠기):
- 감쇠 범위: 0~36dB
- PGA(프로그래밍 가능 이득 증폭기):
- 18~27dB(3dB 단계씩 조절 가능)
- 3차 순서, 선형상, LPF(로우 통과 필터):
- 차단 주파수 범위: 10~30MHz
- ADC 모드(유휴 채널 SNR):
- 14비트, 65MSPS 모드: 75dBFS
- 12비트, 80MSPS 모드: 72dBFS
- 잡음과 전력에 최적화됨:
- TGC 모드: 0.8nV/√Hz, 65MSPS, 14비트 출력에서 102mW/Ch
- CW 모드: 63mW/Ch
- 탁월한 장치 간 이득 정합: ±0.4dB(표준)
- 빠르고 안정적인 과부하 복구
- 다음을 제공하는 CW(Continuous Wave) 경로:
- 1kHz 주파수 오프셋 오프 2.5MHz 반송파에서 –159dBc/Hz의 낮은 클로즈 인 위상 잡음
- 위상 분해능: λ/16
- 16x 및 8x CW 클록 지원
- 3 및 5 고조파에서 12dB 억제
- 디지털 I/Q 복조기:
- 분수 데시메이션 필터 M = 1~63, 0.25씩 증가
- 데시메이션 후 데이터 처리량 감소
- 온칩 RAM(32개의 사전 설정 프로파일 포함)
- 최대 1Gbps 속도를 제공하는 LVDS 인터페이스
- 소형 패키지: 15mm × 15mm NFBGA-289
애플리케이션
- 의료용 초음파 영상
- 비파괴 시험 장비
- 수중 음파 탐지기 영상 장비
블록 선도
게시일: 2018-07-13
| 갱신일: 2022-11-21
