Texas Instruments ADC32J2x 12-Bit Analog-to-Digital Converters
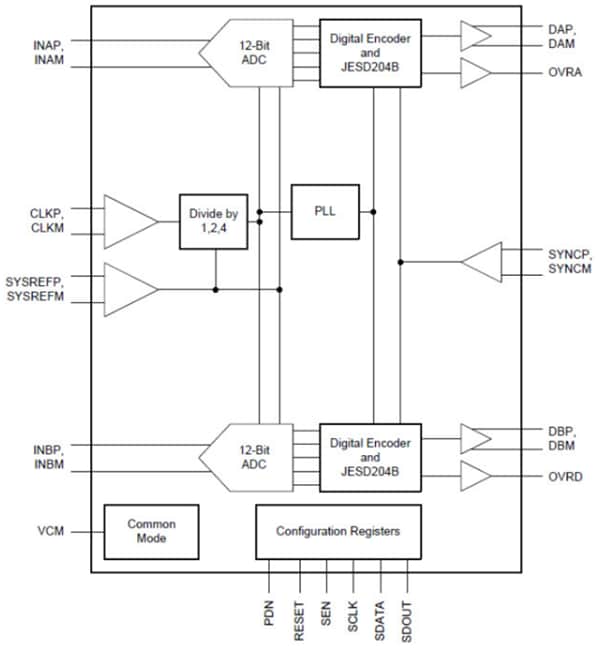
Texas Instruments ADC32J2x 12-Bit Analog-to-Digital Converters (ADCs) are a high-linearity, ultra-low power, dual-channel, 50MSPS to 160MSPS, ADC family. These devices are designed specifically to support demanding, high input frequency signals with large dynamic range requirements. A clock input divider allows more flexibility for system clock architecture design. The devices support JESD204B interfaces in order to reduce the number of interface lines. This also allows for high system integration density. The JESD204B interface is a serial interface, where the data of each ADC are serialized and output over only one differential pair. An internal Phase-Locked Loop (PLL) multiplies the incoming ADC sampling clock by 20 to derive the bit clock that is used to serialize the 12-bit data from each channel. The devices support subclass 1 with interface speeds up to 3.2Gbps.Features
- Dual channel
- 12-bit resolution
- Single 1.8V supply
- Flexible input clock buffer with divide-by-1, 2, and 4
- SNR = 70.3dBFS, SFDR = 88dBc at fIN = 70MHz
- Ultra-low power consumption:
- 227mW/Ch @ 160MSPS
- Channel isolation: 105dB
- Internal dither
- JESD204B serial interface:
- Subclass 0, 1, and 2 compliant up to 3.2Gbps
- Supports one lane per ADC up to 160MSPS
- Support for multichip synchronization
- Pin-to-Pin compatible with 14-bit version (ADC32J4X)
- VQFN-48 (7mm x 7mm) package
Applications
- Multi-carrier, multi-mode cellular base stations
- Radar and smart antenna arrays
- Munitions guidance
- Motor control feedback
- Network and vector analyzers
- Communications test equipment
- Nondestructive testing
- Microwave receivers
- Software Defined Radios (SDRS)
- Quadrature and diversity radio receivers
Functional Block Diagram
TI Reference Design Tools
게시일: 2015-09-11
| 갱신일: 2025-06-25
