STMicroelectronics ISO808 갈바닉 절연 8채널 드라이버
STMicroelectronics ISO808 갈바닉 절연 8 채널 드라이버는 한쪽이 접지에 연결된 상태에서 모든 로드 장치를 구동하도록 설계되었습니다. 각 드라이버에는 2개의 독립적인 갈바닉 절연 전압 도메인(프로세스 및 제어 로직 스테이지 용 VCC 및 VDD)이 포함되어 있습니다. 이 드라이버는 낮은 공급 전류, 최대 45V 프로세스 스테이지 공급 전압, 채널당 0.125Ω 온 상태 저항(표준 ) RDS (ON), IC 출력 비활성 화에 대한 리셋 기능, 높은 공통 모드과도 내성 및 출력 채널에서 단락 보호 기능을 제공합니다. ISO808 드라이버는 또한 별도의 채널의 열 독립성, 케이스 과온도 보호, 과전압 보호 , GND 및 VCC 보호 손실로 채널당 과온도 보호 기능을 제공합니다.ISO808 드라이버에는 전체 칩을 과열(OVC 이벤트)로부터 보호하는 추가적인 케이스 온도 센서가 포함되어 있습니다. 과부하되지 않은 채널은 계속해서 정상적으로 작동합니다. 이러한 드라이버에는 접지 보호 손실, VCC 및 VDD UVLO(히스테리시스 포함), 워치독 내장 기능도 포함됩니다. ISO808 드라이버는 프로그래밍 가능한 논리 제어, 산업용 PC 주변 입력/출력 및 수치 제어 기계에 사용됩니다.
특징
- 유도성 부하 VDEMAG ( 표준 ) = VCC – 54V의 빠른 자기 소거
- 낮은 프로세스 및 로직 측 공급 전류
- 자동 재시작 및 히스테리시스로 부족전압 차단
- 로직 측 5V 및 3.3V TTL/CMOS 및 MCU 호환 I/O
- 공통 출력 활성화/비활성화 핀
- IC 출력 비활성화를 위한 재설정 기능
- 높은 공통 모드 과도 내성
- 개별 채널의 열 독립성을 통한 채널당 과열 보호
- 케이스 과열 보호
- 과전압 보호(VCC 클램핑)
- GND 및 VCC 보호 손실
- 공통 오류 오픈 드레인 진단
- IEC 61000-4-2, IEC 61000- 4-4, IEC 61000-4-5, IEC 61000-4-8을 충족하도록 설계
- UL1577 및 UL508 인증
- PowerSO-36 패키지
사양
- 45 V 최대 프로세스 스테이지 공급 전압
- 넓은 프로세스 측 작동 범위: 9.2VCC~36VCC
- 채널당 0.125Ω 온 상태 저항(표준) RDS(ON)
- 출력 채널에서 단락 보호:
- ISO808 ILIM(최소) = 0.7A
- ISO808 ILIM(최소) = 1A
- 채널당 프로세스 측 작동 전류:
- ISO808 IOUT <>
- ISO808-1 IOUT<>
애플리케이션
- 모든 유형의 로드 장치를 위한 드라이버:
- 저항성
- 정전식
- 유도성
- 프로그래밍 가능한 로직 제어
- 산업용 PC 주변기기 입력/출력
- 수치 제어 컴퓨터
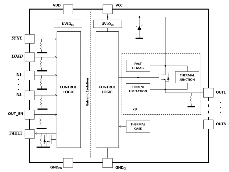
블록 선도
게시일: 2023-01-20
| 갱신일: 2025-08-08
