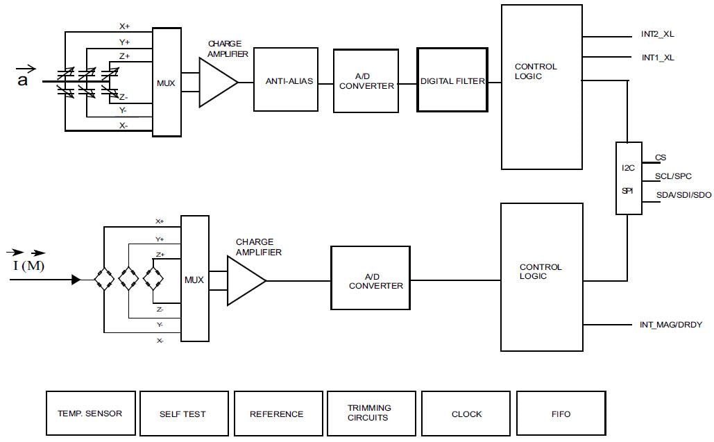
ISM303DAC는 가우스 자기 다이내믹 레인지가 ±50이며 10Hz~150Hz의 출력 데이터 속도를 제공합니다. 이 모듈은 사용자가 선택 가능한 선형 가속 ±2g/±4g/±8g/±16g 풀스케일이 특징입니다.
이 모듈은 가속도를 측정할 수 있으며 1Hz~6,400Hz의 출력 데이터 속도를 제공합니다. 이 ISM303DAC에는 I2C 직렬버스 인터페이스가 포함되어 있으며 이는 표준(100kHz), 고속 모드(400kHz), 고속 모드 플러스(1MHz) 및 고속(3.4 MHz) 그리고 SPI 직렬 표준 인터페이스를 지원합니다.
특징
- 3개의 자기장 채널 및 3개의 가속 채널
- 최대 ±50의 가우스 자기 동적 범위
- ±2/±4/±8/±1 6g 선택 가능 가속도 풀스케일
- 고분해능, 고주파 및 저전력 모드 간의 동적 전환
- 16비트 데이터 출력
- SPI/I2C 직렬 인터페이스
- 아날로그 공급 전압: 1.71V~1.98V
- 자유 낙하, 움직임 및 자기장 감지를 위한 프로그램 가능 인터럽트 발생기
- 가속도계 및 자력계에 대한 임베디드 자가 테스트
- 임베디드 256 레벨 FIFO
- 임베디드 온도 센서
- ECOPACK®, RoHS 및 "Green" 규격 준수
애플리케이션
- 스마트 계측기에서 듀얼 모드 위변조 방지
- 안테나 방향 설정
- 모션 추적
- 로봇공학 및 가전기기
- 위치지정 및 네비게이션 시스템
- 위치 및 거리 센서
비디오
자세히 알아보기
블록 선도
게시일: 2017-12-04
| 갱신일: 2025-12-15

