NXP Semiconductors TJA1022 이중 LIN 송수신기
NXP Semiconductors TJA1022 이중 LIN 송수신기는 LIN (Local Interconnect Network) 마스터/슬레이브 프로토콜컨트롤러와 LIN 네트워크의 물리적 버스 사이의 인터페이스를 제공합니다. TJA1022 송수신기는 주로 최대 20kBd의 보드 전송 속도를 사용하는 차량 내 하위 네트워크를 위해 설계되었으며 LIN 2 0, LIN 2.1 2.2, LIN, LIN 2.2 A, ISO 17987-4: 2016 (12 V LIN) 및 SAE J2602를 준수 합니다. TJA1022T 및 TJA1022TK (SO14/HVSON14 패키지)는 TJA1020, TJA1021, TJA1027 및 TJA1029과 핀 호환됩니다. TJA1022HG (DHVQFN24 패키지)는 TJA1024과핀 호환됩니다. TJA1022, TJA1024, TJA1027 및 TJA1029는 소프트웨어와 호환됩니다.NXP TJA1022은 프로토콜컨트롤러에서 전송된 데이터를 EME(전자기 방출)를 줄이도록 설계된 최적화된 LIN 버스 신호로 변환합니다. LIN 출력 핀은 종단 저항기를 사용하여 내부적으로 높게 당겨집니다. 마스터 노드 구성의 경우 외부 저항기와 다이오드를 VBAT 핀과 각 LIN 핀 사이에 연결해야 합니다. LIN 버스의 수신 데이터는 수신기에 의해 감지 되고 RXD1 및 RXD2 핀을 통해 마이크로컨트롤러로 전달됩니다. 송수신기가 절전 모드에 있을 때 소비 전력이 매우 낮습니다. 하지만 TJA1022은 LIN1/LIN2 및 SLP1_N/SLP2_N 핀을 통해 여전히 깨울 수 있습니다.
특징
- 단일 패키지에 LIN 송수신기 2 개
- LIN 2 0, LIN 2.1, LIN 2.2, LIN 2.2 A, ISO 17987-4: 2016 (12 V LIN) 및 SAE J2602 규격 준수
- 보드 전송 속도: 최대 20kBd
- 매우 낮은 EME(전자기 방출)
- 절전 모드에서 매우 낮은 소비 전류(원격 LIN 웨이크업 기능 포함)
- 3.3 V 및 5 V 장치와 호환되는 입력 레벨
- LIN 슬레이브 애플리케이션용 통합 종단 저항기
- 전원이 공급되지 않는 상태에서의 수동 동작
- 크랭킹 펄스 중 작동 - 5 V 이상에서 전체 작동
- 저전압 감지
- K 라인 호환
- TJA1020, TJA1021, TJA1027 및 TJA1029과핀 호환되는 14 핀 변형 제품
- TJA1024의 24 핀 변형핀 호환 하위 세트
- TJA1024, TJA1027 및 TJA1029와 소프트웨어 호환
- 보호
- 매우 높은 전자기 내성(EMI)
- 매우 높은 ESD 견고성-핀 LIN1, LIN2 및 VBAT에 대한 IEC 61000-4-2에 따른 ±8 kV
- 자동차 환경(ISO 7637)에서 과도 전류로부터 보호되는 버스 단자 및 배터리 핀
- 배터리 및 접지에 대한 버스 단자 단락 방지
- 열적으로 보호됨
- 정상 모드로 전환 시 초기 TXD 우위 검사
- TXD 우위 타임아웃 기능
- 패키지 옵션
- SO14 플라스틱 패키지, 3.9 mm 본체 너비
- AOI(향상된 자동 광학 검사)기능을 갖춘 플라스틱, 무연 HVSON14 (3 0 mm x 4.5 mm x 0.85 mm)
- AOI 기능이 향상된 플라스틱, 이중 인라인, 무연 DHVQFN24 (3.5 mm x 5.5 mm x 0.85 mm)
- 무할로겐 및 RoHS 준수
애플리케이션
- 차체 전자시스템
- 윈도우 리프터
- 도어 모듈
- 시트 컨트롤러
- 선루프 시스템
- 실내 조명 제어
- 실내 온도 조절 시스템
- HVAC(난방, 환기 및 에어컨) 모듈
- 팬 및 플랩 제어 장치
- 인포테인먼트 및 편의
- 스티어링 휠 컨트롤
- 미러 조절 시스템
- 주변 조명
- 센서 및 액추에이터 인터페이스
- 비/조도 센서
- 온도 센서
- 모터 드라이버
사양
- 배터리 공급 전압 범위
- 제한 값: -0.3 V ~ +42 V
- 5 V ~ 18 V 작동
- 배터리 공급 전류 범위
- 절전 및 대기 모드에서 2.5 µA ~ 10 µA
- 정상 모드에서 300 µA ~ 3 200 µA
- LIN 핀의 ±42 V 전압
- 슬레이브 저항 범위: 20 kΩ ~ 60 kΩ
- LIN 핀에서 최대 정전 용량 20 pF
- 접합-주변 열 저항
- SO14 패키지의 경우 145K/W
- HVSON14 패키지의 경우 50K/W
- DHVQFN24 패키지의 경우 42.7K/W
- -40 °C ~ +150 °C 가상 접합 온도
- 셧다운 접합 온도 범위: +150 °C ~ +200 °C
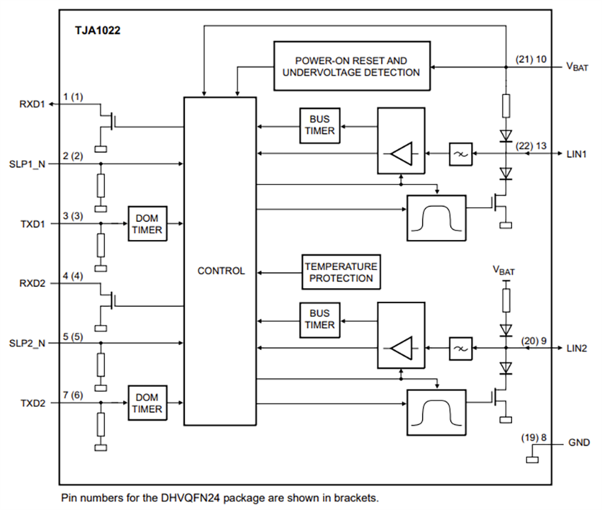
블록 선도
애플리케이션 회로도
게시일: 2025-09-09
| 갱신일: 2025-09-17
