NXP Semiconductors ASLx507 DC-DC 부스트 컨버터
NXP Semiconductors ASLx507 DC-DC 부스트 컨버터는 프로그래밍 가능 림프-홈 모드 기능이 있는 단일 및 듀얼 위상 IC를 포함합니다. 이 부스트 컨버터 IC는 외부 전력 MOSFET 및 통합 비례-적분(PI) 컨트롤러를 구동하는 통합 게이트 드라이버가 1개 또는 2개 포함되어 있습니다. ASLx507 부스트 컨버터는 외부 마이크로컨트롤러와의 광범위한 제어 및 진단 통신을 위한 SPI 인터페이스를 제공합니다. 이 부스트 컨버터는 마이크로컨트롤러와의 SPI 통신이 실패할 경우 림프 홈 모드에서 구성 가능한 작동을 허용합니다. ASLx507 IC의 출력은 림프 홈 모드에서 고객이 프로그래밍할 수 있는 비휘발성 메모리(NVM)에 저장된 사전 정의된 조건에 따라 작동합니다.특징
- AEC-Q100 등급 1 인증
- 시스템 안전을 보장하는 림프-홈 모드
- 하나의 출력에서 각 출력의 단일 위상 또는 이중 위상
- 독립적으로 제어되는 2개의 출력 전압(3% 정확도 제공)
- 내장 발진기를 통한 고정 주파수 작동 범위: 125~700kHz
- 프로그래밍 가능한 확산 스펙트럼 기능 제공
- 출력 과전압 감지 시 게이트 스위칭이 중지됨
- 프로그래밍 가능 게이트 전압
- 낮은 전자기 방출(EME) 및 높은 전자기 내성(EMI)
- 주파수 및 출력 전압 추적을 위한 기울기 보상
- 프로그래밍 가능 제어 루프 보상
- 출력 전압 모니터링
- 공급 전압 측정
- SPI를 통해 다시 프로그램된 전압 및 주파수 범위
- SPI를 통한 접합 온도 모니터링
- HVQFN32 패키지 외형
사양
- 폭넓은 작동 입력 범위: 5.5~40V
- 폭넓은 작동 LED 전압: 2.5~80V
- 대기 전류: 25°C에서 5µA 미만
- 주변 작동 온도 범위: -40~125°C
애플리케이션
- 자동차 LED 조명:
- 주간 주행등
- 위치 또는 주차등
- 로우 빔
- 하이 빔
- 방향 지시등
- 안개등
- 코너링 라이트
- 산업/소비자:
- 조명(내부)
- 컨트롤 패널
- 배터리 충전기
- 전동식 자전거
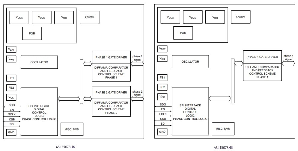
ASLx507 블록 선도
View Results ( 4 ) Page
| 부품 번호 | 데이터시트 | 설명 | 채널 수 | 입력 전압 | 작동 주파수 | 공급 전류 - 최대 | 패키지/케이스 |
|---|---|---|---|---|---|---|---|
| ASL2507SHNY | ![]() |
LED 조명 드라이버 IC Dual phase boost converter IC, Automotive grade, SPI, Limp Home mode | 2 Channel | 5.5 V to 40 V | 125 kHz to 700 kHz | 250 uA | HVQFN-32 |
| ASL1507SHNY | ![]() |
LED 조명 드라이버 IC Single-phase boost converter IC , automotive grade, SPI, Limp Home mode | 1 Channel | 5.5 V to 40 V | 125 kHz to 700 kHz | 250 uA | HVQFN-32 |
| ASL2500SHNY | ![]() |
LED 조명 드라이버 IC Two-Phase Automotive LED Boost Driver | 1 Channel | 5.5 V to 40 V | 20 mA | HVQFN-32 | |
| ASL1500SHNY | ![]() |
LED 조명 드라이버 IC Single-Phase Automotive LED Boost Driver | 20 mA | HVQFN-32 |
게시일: 2018-12-06
| 갱신일: 2022-10-12

