Microchip Technology PIC16(L)F1847 플래시 MCU
Microchip PIC16(L)F1847 플래시 MCU는 49개 명령어, 16개 스택 레벨 및 인서킷 디버그 기능을 갖춘 향상된 미드 레인지 8비트 CPU 코어로 설계되었습니다.이 MCU는 정밀 32MHz 내부 발진기 블록, ADC 모듈, 아날로그 비교기 및 전압 기준장치 모델, 프로그래밍 가능 코드 보호 및 데이터 신호 변조 모듈이 특징입니다.기준 클록 모듈을 통해 클록 출력 핀(CLKR)에 분할 클록을 전송할 수 있으며, 2차 내부 클럭 소스를 모듈레이터 모듈에 제공합니다.오실레이터 모듈은 다양한 클록 소스와 선택 기능을 갖추고 있어 성능을 극대화하고 소비전력을 최소화하면서 다양한 애플리케이션에 사용할 수 있습니다. PIC16(L)F1847 플래시 MCU는 캡처/비교/ PWM 주변 모듈을 갖추고 있어 사용자가 다른 이벤트를 시간과 제어하고 PWM 신호를 생성할 수 있습니다. PICkit™ 3 및 MPLAB® ICD 3을 통해 디비깅 및 프로그래밍이 지원됩니다.특징
- 고성능 RISC CPU:
- C 컴파일러 최적화 아키텍처
- 256bytes 데이터 EEPROM
- 최대 14kb의 선형 프로그램 메모리 주소 지정
- 최대 1024bytes의 선형 데이터 메모리 주소 지정
- 인터럽트 기능(자동 컨텍스트 절감)
- 직접, 간접 및 상대 주소 지정 모드
- 유연한 발진기 구조:
- 정밀 32MHz 내부 발진기 블록
- 31kHz 저전력 내부 발진기
- 최대 32MHz의 크리스탈 모드 4개
- 두 가지 고속 발진기 시동
- 페일 세이프 클록 모니터
- 특별 MCU 특징:
- PIC16F1847의 작동 전압: 1.8V~5.5V
- PIC16LF1847의 작동 전압: 1.8V~3.6V
- 소프트웨어 제어 하에 자체 프로그래밍 가능
- 파워 온 리셋(POR), 파워 업 타이머(PWRT) 및 발진기 시동 타이머(OST)
- 프로그래밍 가능 전압 저하 리셋(BOR)
- 확장된 감시 타이머(WDT)
- 프로그램 가능 코드 보호
- 2개의 핀을 통한 ICSP™(In-circuit serial programming™)
- 두 개의 핀을 통한 ICD(In-Circuit Debug)
- 향상된 저전압 프로그래밍
- 전력 절감 절전 모드
- 초저전력 관리 PIC16LF1847(XLP 사용):
- 절전 모드 - 1.8V에서 20nA
- 감시 타이머 - 1.8V에서 300nA
- Time1 발진기 - 32kHz에서 650nA
- 작동 전류: 1.8V에서 65µA/MHz
- 아날로그-디지털 컨버터(ADC) 모듈
- 아날로그 비교기 모듈
- 전압 기준 장치 모듈
- I/O 핀 15개 및 입력 전용 핀 1개
- 8비트 타이머 4개(TMR0/TMR2/TMR4/TMR6)
- 16비트 타이머(TMR1) 1개
- 확장된 감시 타이머(EWDT)
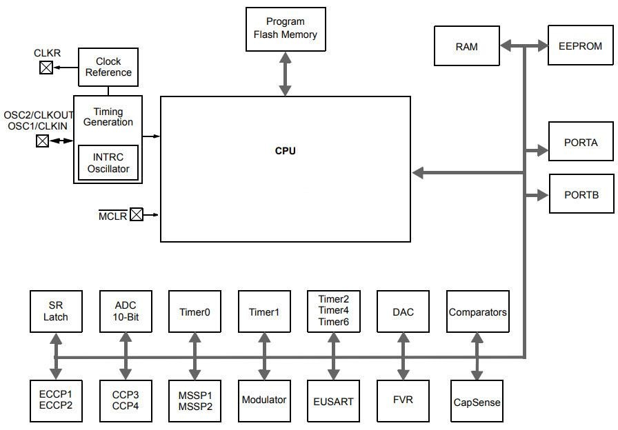
PIC16(L)F1847 플래시 MCU 블록 선도
게시일: 2018-03-29
| 갱신일: 2022-10-03
