Microchip Technology 24CS512 3.4MHz I2C 직렬 EEPROM
Microchip Technology 24CS512 3.4MHz I2C 직렬 EEPROM은 512KB의 직렬 EEPROM을 제공하며 I2C(2선) 직렬 인터페이스를 활용합니다. 3.4MHz 고속 모드 기능을 갖추고 있습니다. 이 장치는 각각 8비트(64KB)의 65,536바이트로 구성되며 안정적이고 신뢰할 수 있는 비휘발성 메모리 저장 장치가 필수적인 소비자 및 산업용 애플리케이션에 사용하도록 최적화되어 있습니다. 24CS512를 통해 최대 8개의 장치가 공통 I2C(2선) 버스를 공유할 수 있으며 폭넓은 전압 범위(1.7~5.5V)에서 작동할 수 있습니다.특징
- 512KB EEPROM
- 65,536 x 8비트 블록으로 내부적으로 구성
- 최대 128바이트의바이트 또는 페이지 쓰기
- 블록 내의바이트 또는 순차 읽기
- 자체 시간 설정 쓰기 사이클(최대 5ms)
- 고속 I2C 인터페이스
- 3.4 MHz를 위한 고속 모드 지원
- 업계 표준: 1MHz, 400kHz 및 100kHz
- 접지 바운스를 제거하기 위한 출력 경사 제어
- 잡음 억제를 위한 슈미트 트리거 입력
- 보안 레지스터
- 사전 프로그래밍된 128비트 일련 번호
- 사용자 프로그래밍 가능, 잠금식 128바이트 ID 페이지
- 내장형 ECC(오류 수정 코드) 로직
- 구성 레지스터를 통한 ECC 상태 비트
- I2C 제조업체 식별 기능 지원
- 다목적 데이터 보호 옵션
- 전체 어레이 데이터 보호를 위한 하드웨어 WP(쓰기 보호) 핀
- 구성 레지스터를 통해 향상된 소프트웨어 쓰기 보호
- 1.7~5.5V 작동 전압 범위
- 저전력 CMOS 기술
- 최대 3.0mA 쓰기 전류(5.5V)
- 최대 1.0mA 읽기 전류(5.5V, 1MHz)
- 1µA 대기 전류(5.5V)
- 높은 신뢰도
- 100만회 이상 지우기/쓰기 사이클
- 신뢰성 향상을 위한 내장 ECC 로직
- 데이터 보존: 200년 이상
- ESD 보호: 4,000V 이상
- RoHS 규격 준수
- 온도 범위
- 산업(I): -40~+85°C
직렬 EEPROM을 사용한 시스템 구성
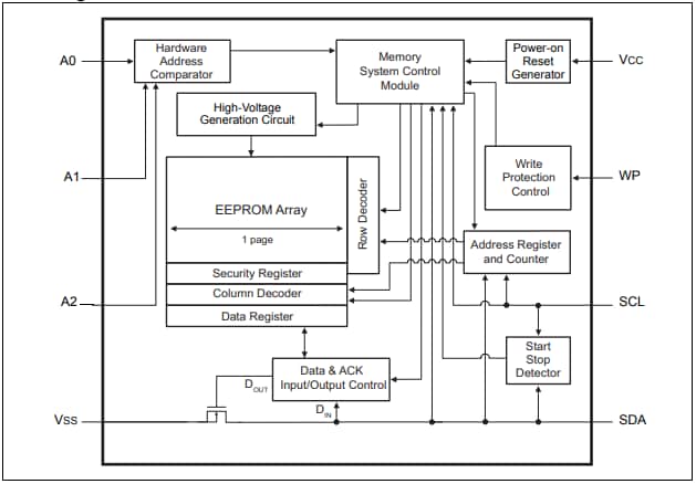
블록 선도
평가 보드
비디오
게시일: 2021-02-18
| 갱신일: 2022-03-11
