Infineon Technologies 소형 엔진을 위한 TLE8080EM 엔진 관리 IC
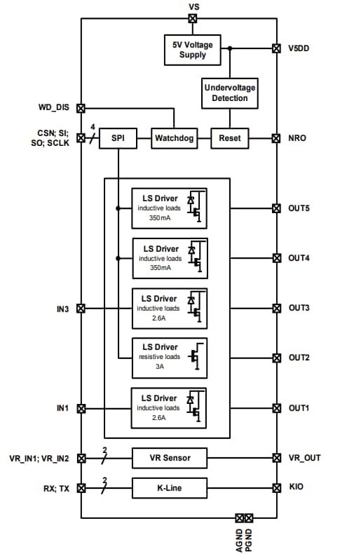
소형 엔진용 Infineon Technologies TLE8080EM 엔진 관리 IC는 Infineon의 SPT(Smart Power Technology)를 사용하여 제조되었습니다. 이 IC는 내장된 보호 기능에 의해 보호됩니다. 전원 공급 장치에는 K-라인, SPI, 가변 자기 저항 센서 인터페이스 및 전력단이 통합되어 있어 엔진 관리 시스템에서 서로 다른 로드 장치를 구동할 수 있습니다. TLE8080EM은 엔진 관리 시스템을 위한 소형의 비용 최적화된 솔루션을 제공합니다. 이 IC는 실린더 모터사이클 엔진 관리 시스템에 매우 적합합니다.특징
- 5V(+/-2%), 250mA 공급
- K-라인 송수신기(ISO 9141)
- SPI(직렬 주변기기 인터페이스)
- 과열 및 과전류 보호 기능을 제공하는 유도 로드 장치용의 로우 측 드라이버4개 및 오프 진단 시 개방 부하/접지 단락:
- 2.6A의 최대 작동 전류를 제공하는 로우 측 스위치 2개
- 350mA의 최대 작동 전류를 제공하는 로우 측 스위치 2개
- 과열 및 과전류 보호 기능을 비롯해 3A의 최대 작동 전류를 제공하는
- 저항성 로드 장치용 로우 측 드라이버 1개
- 구성 가능한 가변 자기 저항 센서 인터페이스
- 리셋 출력 및 5V 부족 전압 감지
- 워치독
- 그린 제품(RoHS 준수)
- AEC 인증
블록 선도
게시일: 2018-06-18
| 갱신일: 2022-08-08
