Diodes Incorporated AP61100/AP61102 동기식 강압 컨버터
Diodes Incorporated AP61100/AP61102 동기식 강압 컨버터는 2.3V~5.5V의 넓은 입력 전압 범위를 제공하는 자동차 규격 준수 컨버터입니다. 이 컨버터는 110mΩ 하이 사이드 전력 MOSFET과 80mΩ 로우 사이드 전력 MOSFET을 통합하여 고효율 강압 DC-DC 변환 기능을 제공합니다. The Diodes Incorporated AP61100/AP61102 컨버터는 COT(상시 온타임) 제어 기능을 채택하여 빠른 과도 응답, 쉬운 루프 안정화 및 낮은 출력 전압 리플을 달성합니다. 이 컨버터는 SOT563 패키지로 제공됩니다. 일반적으로 5V 자동차 분산 전원 버스 전원, 자동차 인포테인먼트, 자동차 클러스터, 자동차 텔레매틱스 및 ADAS(첨단 운전자 보조 시스템)에 사용됩니다.특징
- 110mΩ 하이 사이드 전력 MOSFET 및 80mΩ 로우 사이드 전력 MOSFET 통합
- 다음의 결과로 AEC-Q100 인증 획득
- -40°C~125°C TA 거리 측정 온도 등급 1
- 장치 HBM ESD 분류 레벨 H3A
- 장치 CDM ESD 분류 레벨 C5
- 고효율 강압 DC-DC 변환 기능 제공
- 다음을 달성하기 위해 COT(Constant On-Time) 제어 기능 채택
- 빠른 과도 응답
- 쉬운 루프 안정화
- 낮은 출력 전압 리플
- EN을 통한 프로그래밍 가능 작동 모드
- PFM(펄스 주파수 변조)
- 출력과 상관없는 PWM(펄스 폭 변조)
- 전력 양호 표시등
- AP61102Q
- 보호 회로
- UVLO(저전압 차단)
- VIN 과전압 보호(OVP)
- 피크 전류 제한
- 밸리 전류 제한
- 과열 시 셧다운
사양
- 넓은 입력 전압 범위: 2.3~5.5V
- 낮은 대기 전류(PFM): 15μA
- 연속 출력 전류: 1A
- 출력 전압 범위: 0.6~3.6V
- 0.6V±2% 기준 전압
- 2.2MHz 스위칭 주파수(VIN=5V 및 VOUT=1.8V)
- 5mA 경부하에서 최대 89% 효율
애플리케이션
- 자동차 분산 전원 버스 공급 전압: 5V
- 자동차 인포테인먼트
- 자동차 계기판
- 자동차 텔레매틱스
- 첨단 운전 보조 시스템
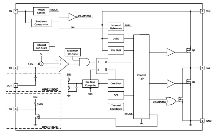
기능 블록 선도
게시일: 2020-06-09
| 갱신일: 2024-07-31
