Broadcom APDS-9922/APDS-9160 센서

Broadcom APDS-9922/APDS-9160 조도 및 근접 센서는 IR LED와 함께 디지털 I2C 호환 인터페이스 조도 센서(ALS) 및 근접 센서를 제공하고 단일 8핀 패키지로 제공됩니다. ALS는 낮은 조명 조건이나 어두운 면판에서 광도에 대한 광 응답을 허용합니다. 이 장치는 인간의 눈의 응답과 유사하며 출력 카운트가 주변광 레벨에 비례하는 직접 판독 기능을 제공합니다. APDS-9922/APDS-9160 센서는 낮은 조명 기능을 제공하며 어두운 유리 뒤에서 작동할 수 있습니다. 근접 감지 기능은 햇빛이 밝은 곳에서 어두운 실내까지 잘 작동합니다. 모듈 내에 있는 마이크로 광학 렌즈는 적외선 에너지를 매우 효율적으로 전송 및 수신할 수 있으므로 전반적인 전력 손실을 낮춥니다. 이 장치는 저전력 대기 모드를 사용하므로 평균 소비전력이 매우 낮습니다.

특징

  • 광학 모듈의 ALS, IR LED 및 근접 감지기
  • 조도 감지(ALS)
    • 조명 밀도에 비례하여 조명 출력
    • 광학 코팅 기술을 사용하여 인간의 눈 스펙트럼 반응을 에뮬레이션
    • 다른 광원 조건에서 효과적으로 작동
    • 낮은 조명 감도 -- 어두운 유리 뒤에서 작동
    • 최대 20비트 분해능
  • 근접 감지
    • 통합 IR LED 및 동기식 LED 드라이버
    • 최대 11비트 분해능
  • 전력 관리
    • 낮은 유효 전류
    • 낮은 대기 전류
  • I2C 인터페이스 호환
    • 최대 400kHz(I2C 고속 모드)
    • 전용 인터럽트 핀
  • 넓은 공급 전압: 1.7~3.6V
  • 소형 패키지

애플리케이션

  • 휴대폰 백라이트 밝기 조절
  • 휴대폰 터치화면 디스에이블
  • 자동 스피커폰 인에이블
  • 디지털 카메라 아이 센서

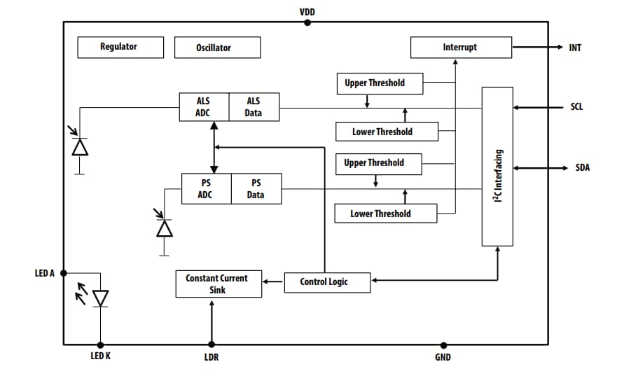
APDS-9160-003 블록 선도

블록 선도 - Broadcom APDS-9922/APDS-9160 센서

APDS-9922-001 블록 선도

블록 선도 - Broadcom APDS-9922/APDS-9160 센서
게시일: 2018-12-17 | 갱신일: 2024-09-19