Analog Devices MAX20754 다상 전원 공급 컨트롤러는 컨트롤러와 전력단 장치 모두에 전원을 공급하는 통합 스위칭 조정기를 사용하여 다양하게 사용할 수 있습니다. MAX20754는 정확한 부하 전류 보고, 전력단 온도 모니터링, 오류 감지, 광범위한 PMBus 명령 지원을 제공합니다. 사용자는 MAX20754를 통해 비휘발성 메모리에 PMBus 매개변수를 저장할 수 있습니다.
이 컨트롤러는 유연하여 기존의 개별 인덕터 또는 결합형 인덕터 토폴로지와 함께 사용할 수 있습니다. 결합된 인덕터는 리플 전류를 증가시키지 않으면서 효과적인 인덕터 값과 크기를 줄이고 필요한 출력 커패시턴스를 줄이고 과도 응답을 개선합니다.
MAX20754는 AMS(고급 변조 방식)을 활용하여 기존의 PWM(펄스 폭 변조) 제어에 비해 탁월한 과도 응답과 감소된 필수 출력 정전용량을 제공합니다. 엄격한 고정 주파수 PWM 작동이 필요한 경우 AMS를 비활성화할 수 있습니다.
특징
- 유연한 다목적 컨트롤러
- PWM 신호 최대 6개 생성
- 유연한 위상 할당 기능이 있는 단일 또는 이중 전압 출력
- 0.5~2.0V 출력-전압 범위(MAX20754ETMA1+)
- 0.25~2.0V 출력-전압 범위(MAX20754ETMA2+)
- 4.5~16V 입력-전압 범위
- 300~800kHz 스위칭 주파수 범위
- 작은 전체 솔루션 크기에서 높은 전력 밀도
- 결합된 인덕터 기술 지원
- 고급 변조 방식으로 과도 응답 개선
- 높은 루프 대역폭으로 출력 정전용량 요구 사항 감소
- 48핀(7mm x 7mm) TQFN 패키지
- 열 밸런스를 위한 위상 전류 스티어링
- 효율적인 통합 내부 스위칭 조정기 전력 컨트롤러 및 전력단
- 단일 시스템 구성
- 출력 전압, 버스 어드레스, 스위칭 주파수 및 전류 제한을 설정하는 외부 저항기 4개
- 포괄적인 PMBus 구성, 제어, 원격 측정
- PMBus 표준, revision 1.3과 호환
- 10kHz~1MHz 버스 속도
- 비휘발성 메모리에 저장된 PMBus 명령 설정
- 정확한 전류, 전압, 온도 보고
애플리케이션
- 통신, 네트워킹, 서버, 저장 장비
- ASIC, DSP, FPGA
- 마이크로프로세서 칩셋
- DDR 메모리
비디오
기본 애플리케이션 회로
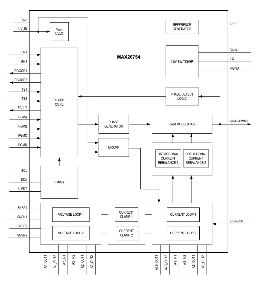
기능 선도
게시일: 2021-10-18
| 갱신일: 2023-04-17

