Analog Devices / Maxim Integrated DS28E83 DeepCover 1-Wire 인증 도구
Maxim Integrated DS28E83 DeepCover 1-Wire 인증 도구는 복사 방지 핵심 인증 도구 세트를 제공하는 안전한 인증 도구입니다. 이 도구는 통합 비대칭(ECC-P256) 및 대칭(SHA-256) 보안 기능에서 파생됩니다. 이 장치는 FIPS 호환 TRU(truerandom number generator), 10KB의 보안 OTP, 구성 가능한 GPIO 1개 및 고유한 64비트 ROM 식별 번호(ROM ID)를 통합하고 있습니다. ECC 퍼블릭/프라이빗 키 성능은 NIST 정의 P-256 곡선에서 달성 가능하며 이 키는 양방향 비대칭 키 인증 모델을 지원하는 FIPS 186 준수 ECDSA 서명 생성 및 검증 기능을 포함하고 있습니다. SHA-256 보안 키 성능은 FIPS 180에 부합하고 ECDSA 작업과 함께 또는 다중 HMAC 기능을 위해 독립적으로 유연하게 사용됩니다.특징
- 높은 방사선 내성으로 의료 살균전에 사용자 프로그램 가능한 제조 또는 교정 데이터 허용
- 최대 75kGy(kiloGray)의 방사능에 대한 내성
- 10KB의 OTP(One Time Programmable) 사용자 데이터, 키 및 인증서
- ECC-P256 컴퓨팅 엔진
- FIPS 186 ECDSA P256 서명 및 검증
- 세션 키 설정을 위한 ECDH 키 교환
- 구성 가능 메모리의 ECDSA 인증된 R/W
- SHA-256 컴퓨팅 엔진
- 안전한 다운로드/부팅을 위한 FIPS 180 MAC
- 양방향 인증 및 선택적 GPIO 제어를 위한 FIPS 198 HMAC
- ECDH에서 수립한 키를 통해 구성 가능한 메모리의 SHA-256 OTP(One-Time Pad) 암호화 R/W
- 1-Wire IO 핀의 ±8kV HBM ESD 보호
- 6핀, 3x3mm TDFN
- 옵션 인증 컨트롤 기능이 있는 GPIO 핀 1개
- 개방 드레인, 4mA/0.4V
- 옵션 SHA-256 또는 ECDSA 인증 온/오프 및 상태 판독
- 안전한 다운로드를 위한 멀티블록 해시 후 온/오프 기능을 설정하는 옵션 ECDSA 인증서
- TRNG(판독 기능이 있는 NIST SP 800-90B 준수 엔트로피 소스 포함)
- ECC 작업을 위한 옵션 칩 생성 Pr/Pu 키 쌍 또는 SHA256 기능을 위한 비밀 키
- 고유하고 변경 불가능한 초기 프로그래밍된 64비트 식별 번호(ROM ID)
- 암호화 및 키 작업에 대한 옵션 입력 데이터 구성 요소
- 단일 인터페이스에 대한 인터페이스를 최소화하는 첨단 1-Wire 프로토콜
- 작동 범위: 3.3V±10%, 0°C~+50°C
애플리케이션
- 의료 소모품 보안 인증
- 의료 도구/액세서리 식별 및 보정
- 액세서리 및 주변기기 보안 인증
- 호스트 컨트롤러에 대한 암호화 키의 안전한 저장
- 펌웨어 및/또는 시스템 매개변수의 안전한 부팅 또는 다운로드
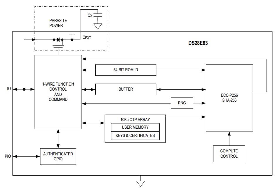
블록 선도
게시일: 2018-06-21
| 갱신일: 2023-04-11
