Analog Devices Inc. LT8386용 DC3008A 데모 회로
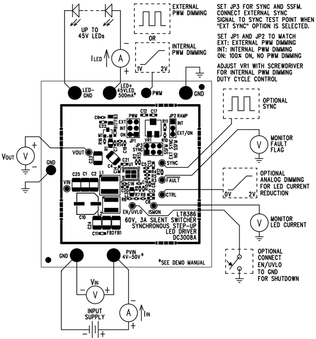
Analog Devices LT8386용 DC3008A 데모 회로는 LT8386이 특징인 60V 3A Silent Switcher 동기식 승압 LED 드라이버입니다. VIN이 4~40V 사이일 때 500mA에서 최대 45V의 단일 LED 스트링을 구동합니다. 이 장치는 감소된 ILED로 VIN까지 작동하며 50V의 높은 VIN에 견딜 수 있지만 이 애플리케이션을 위해 45V로 OVLO(과전압 록아웃)가 설정되어 있습니다. DC3008A는 340kHz 스위칭 주파수에서 작동합니다. 간단한 점퍼로 SSFM(확산 스펙트럼 주파수 변조)을 켜, EMI를 줄일 수 있습니다. Analog Devices DC3008A는 최적화된 레이아웃, SSFM 및 입력 EMI 필터를 포함한 낮은 EMI 기능을 제공합니다.이 장치는 개방 및 단락 LED 조건으로부터 보호되며 결함을 보고합니다. LT8386 부스트 변환기의 입력 전압 범위는 4~56V입니다. 내부 동기식 3.3A 60V 스위치는 개방형 LED 이벤트 동안 과전압 보호 및 오버슈트를 위한 공간이 있는 출력 장치에 최대 52V의 LED(조절된 FB 저항기 포함)를 허용합니다. 이 장치는 200kHz~2MHz 범위로 조절 가능한 스위칭 주파수를 제공합니다. 외부 소스와 동기화하거나 낮은 EMI를 위해 SSFM으로 프로그래밍할 수 있습니다. PWMTG 하이 측 PWM MOSFET 드라이버는 단락 보호 및 다기능성을 지원합니다. LT8386은 부스트, 부스트 벅 또는 벅 모드 LED 드라이버로 구성하고 낮은 EMI, PWM 디밍 및 결함 진단 기능을 유지할 수 있습니다.
LT8386은 외부 PWM 신호 또는 내부적으로 생성된 PWM 신호로 PWM 디밍이 가능합니다. DC3008A에는 내부적으로 생성된 PWM 신호, 외부에서 생성된 PWM 신호와 PWM 신호 없음(100% 온) 사이를 전환하도록 설정 가능한 점퍼가 있습니다. 컨트롤 핀에서 제어 전압(CTRL)으로 아날로그 디밍이 가능합니다. PWM 디밍및 SSRM으로 모두 실행 시, SSRM은 깜박임 없는 작동을 위해 PWM 신호와 자체 정렬됩니다.
소형 세라믹 입력 및 출력 커패시터는 공간 및 비용을 절감하는 데 사용됩니다. 이 보드는 VOUT 핀의 양쪽에 있는 소형 고주파 커패시터로 설계되어 방출을 줄입니다. 개방 LED 과전압 보호 기능은 IC의 정전압 조절 루프를 사용하여 LED 스트링이 열리면 출력을 약 57V로 조절합니다. ISMON 테스트 포인트를 통해 출력 전류를 모니터링할 수 있습니다. 몇 가지 간단한 저항기 선택만으로 회로에서 부족전압 및 과전압 록아웃을 조절할 수 있습니다. DC3008A의 입력에 EMI 필터가 있습니다.
테스트 설정
