Analog Devices / Maxim Integrated ADPL12008 강압 컨버터
Analog Devices/Maxim Integrated ADPL12008 강압 컨버터는 내부 하이 사이드 및 로우 사이드 스위치를 통합한 동기식 강압 컨버터입니다. 이 강압 컨버터는 3~20V의 입력 전압으로 최대 8A/10A를 출력하도록 설계되었습니다. ADPL12008 강압 컨버터는 매우 높은 듀티 사이클로 실행하여 드롭아웃 모드에서 작동할 수 있으며 공장 자동화 애플리케이션에 이상적입니다. 이 ADPL12008 IC는 소형, 3.5mm x 3.75mm 크기, 17핀 FC2QFN(플립칩 쿼드 플랫 무연) 패키지로 제공됩니다. ADPL12008 강압 컨버터는 ADPL12005/ADPL12006(5A~6A) 장치 제품군과 호환됩니다. 이 강압 컨버터는 공장 자동화, 부하 지점, 분산 DC 전력 시스템, 통신 인프라 그리고 테스트 및 측정에 이상적입니다.ADPL12008 컨버터는 프로그래밍 가능한 출력 전압 옵션을 제공하며, 1.5MHz 및 400kHz의 높은 스위칭 주파수 옵션을 통해 소형 외부 구성요소 사용과 출력 리플 감소가 가능합니다. 이 강압 컨버터는 -40~150°C의 접합부 온도 범위에서 작동합니다.
특징
- 소형 솔루션 크기의 고전력 DC/DC 컨버터:
- 3~20V 작동 VIN 범위
- 통합 FET를 갖춘 동기식 DC-DC 컨버터
- 8A/10A 최대 출력 전류
- 400 kHz~1.5 MHz 고정 주파수 옵션
- 고정 소프트 스타트 시간:
- 2.5 ms (400 kHz)
- 3.5 ms (1.5 MHz)
- 36 ns 최소 온 시간
- 프로그래밍 가능한 출력 전압:
- 400kHz일 때 0.8~10V
- 1.5MHz일 때 0.8~6V
- 더 나은 EMI(전자파 간섭) 성능을 위한 대칭 및 평형 SUP 및 PGND 핀 배치
- 열적으로 향상된 3.5 mm x 3.75 mm 17핀 FC2QFN 패키지
- 모든 부하 범위에서 고효율:
- 20 μA 대기 전류(스킵 모드)
- 12VIN/3.3VOUT/400kHz에서 최대 95.6% 효율성
- 12VIN/3.3VOUT/1.5MHz에서 최대 93.9% 효율성
- 최대 20A 부하 용량의 이중 위상 작동:
- 주파수 동기화 입력/출력
- 컨트롤러와 대상 간의 180° 위상차
- 동적 전류 공유
- 강제 PWM 및 스킵 모드 작동
- LDO 작동
- 전력 양호 표시등
- 과열 및 단락 보호
- -40~150°C 작동 접합부 온도 범위
- 조정 가능한 전력 솔루션
- ADPL12005/ADPL12006과 설치 면적 호환
애플리케이션
- 공장 자동화
- 부하 지점
- 분산 DC 전력 시스템
- 통신 인프라
- 테스트 및 측정
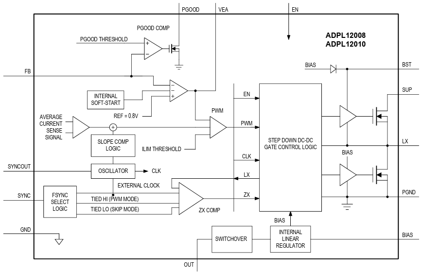
블록 선도
핀 구성
게시일: 2025-09-15
| 갱신일: 2025-10-02
