Analog Devices Inc. AD4134 쿼드 채널 아날로그-디지털 컨버터
Analog Devices Inc. AD4134 쿼드 채널 ADC(아날로그-디지털 컨버터)는 높은 기능과 사용 편의성을 제공하는 저잡음, 동시 샘플링, 정밀 ADC입니다. ADI AD4134 쿼드 채널 ADC는 CTSD(연속 시간 시그마-델타) 변조 방식을 기반으로 합니다. AD4134는 Σ-Δ 변조기 이전에 전통적으로 필요한 스위치드 커패시터 회로 샘플링을 제거하여 ADC 입력 구동 요구 사항을 완화합니다. 또한 CTSD 아키텍처는 본질적으로 ADC 앨리어싱 주파수 대역 주변의 신호를 거부하여 장치에 고유한 앤티앨리어싱 기능을 제공하고 복잡한 외부 앤티앨리어싱 필터의 필요성을 제거합니다.특징
- 앨리어스 프리: 고유한 앤티앨리어싱 거부 고성능 모드 102.5dB(표준)
- 우수한 AC 및 DC 성능
- ODR = 374kSPS, FIR 필터에서 108dB의 다이내믹 레인지(표준)
- 137dB(표준) 다이내믹 레인지(ODR = 10SPS, sinc3 필터)
- THD: -120dB 표준(1kHz, 입력 톤)
- 오프셋 오류 드리프트: 0.9µV/°C(표준)
- 이득 드리프트: 2ppm/°C(표준)
- INL: ±2ppm FSR(표준)
- 다이내믹 레인지 강화: 4:1 및 2:1 평균화 모드
- 126dB, A-가중 다이내믹 레인지
- 저항성 ADC 및 기준 입력
- 동기화 용이: 비동기 샘플 속도 컨버터
- 하나의 신호 라인과 다중 장치 동기화
- 0.01~1,496kSPS에서 프로그래밍 가능한 데이터 전송 속도(0.01SPS의 분해능)
- 외부 신호로 출력 데이터 전송 속도를 제어하는 옵션
- 선형 위상 디지털 필터 옵션
- 낮은 리플 FIR 필터: 32µdB 통과 대역 리플, DC~161.942kHz
- 낮은 지연 시간 sinc3 필터 및 sinc6 필터, DC~391.5kHz
- 50Hz/60Hz 거부 기능이 있는 Sinc3 필터
- 130.7dBFS 혼선
- 데이지 체인 연결
- 데이터 및 SPI에서 CRC 오류 검사
- 두 가지 전원 모드 - 고성능 모드 및 저전력 모드
- 4.5~5.5V 및 1.65~1.95V 전원 공급 장치
- 1.8V IOVDD 레벨
- 4.096V 또는 5V 외부 기준 전압
- 48MHz 크리스털 또는 외부 CMOS 클록
- SPI 또는 핀(독립형)으로 구성 가능한 작동 성능
- -40~+105°C 작동 온도 범위
- 8mm × 8mm, 56리드 LFCSP(노출 패드 포함)로 제공
애플리케이션
- 전기 테스트 및 측정
- 오디오 테스트
- 3상 전력 품질 분석
- 루프 확인 시 제어 및 하드웨어
- 수중 음파 탐지기
- 예측 유지 보수를 위한 상태 모니터링
- 음향 및 재료 과학 연구 및 개발
비디오
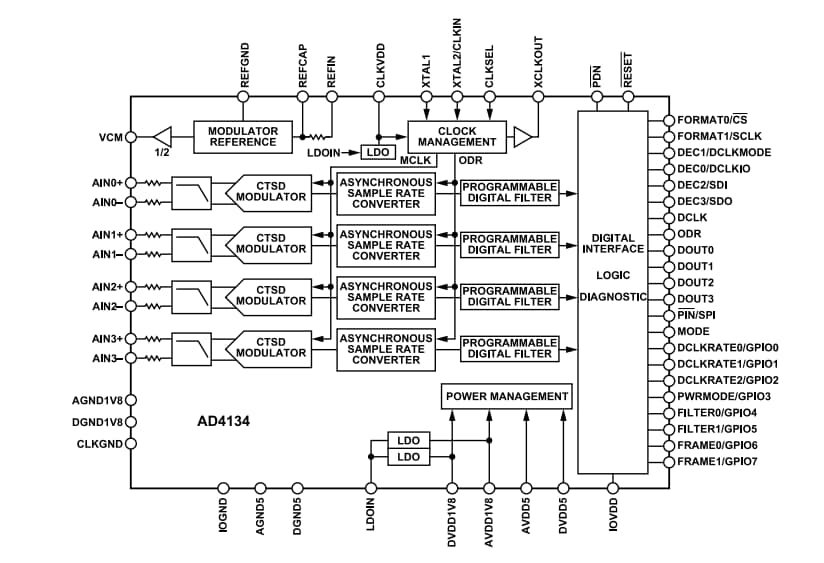
블록 선도
게시일: 2021-12-27
| 갱신일: 2025-07-31
